首页
展会介绍
展会概况
展馆介绍
展示范围
展商中心
观展指南
展位申请
参展问答
展位图
广告资源
参展费用
观众中心
参观须知
观众登记
展商名录
VIP观众
同期活动
媒体中心
展会新闻
行业新闻
合作媒体
商旅服务
旅游指南
交通指南
酒店预订
签证信息
下载中心
联系我们
联系方式
丞华展览
展会新闻
行业新闻
合作媒体
返回列表
上一篇
2025-11-15
山西“136号文”正式发布:存量0.332元/kWh,增量0.2~0.332元/kWh,健全发电侧容量补偿机制
下一篇
2025-11-15
新疆机制电价竞价预公告:执行期10年,11月12日提交材料
青海2025机制电价竞价结果公布:风、光0.24元/kWh,均为上限价
时间:2025-11-15 13:47 浏览:1 来源:国网新能源云
分享:
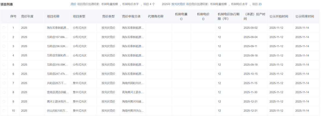
11月12日,2025年青海省新能源机制电价竞价结果公布。
此次共公布
27个项目
,机制电量总规模
1668GWh(16.68亿千瓦时)
。其中,
分布式光伏项目16个,集中式光伏项目7个,集中式陆上风电4个。
光伏项目23个,机制电量规模1124999.999MWh,机制电价0.24元/kWh。
风电项目4个,机制电量规模54 2999.999MWh,机制电价0.24元/kWh。
根据青海省《关于组织2025年下半年新能源增量项目开展机制电价竞价工作有关事项的通知》,本次竞价主体范围为
2025年6月1日至2025年12月31日期间投产的新能源项目。
风电、光伏竞价上限均为0.24元/kWh。
风电竞价下限0.205元/千瓦时,光伏0.18元/kWh。
机制电量总规模22.41亿千瓦时,
其中,风电6.33亿千瓦时,光伏16.08亿千瓦时。
附文件内容如下:
上一篇:
山西“136号文”正式发布:存量0.332元/kWh,增量0.2~0.332元/kWh,健全发电侧容量补偿机制
下一篇:
新疆机制电价竞价预公告:执行期10年,11月12日提交材料